Производитель твердосплавного режущего инструмента

slider0

Полезные статьи

Читать все статьи

MDPNN2525M11 Резец токарный (державка) по металлу

Характеристики товара

Ориентировочная дата поступления на склад:
28.02.2026
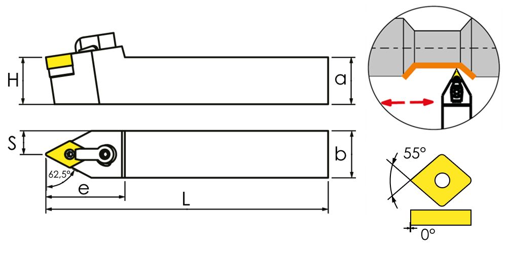
H, мм:
25
L, мм:
150
Форма пластины:
D (ромб 55°)
Задний угол пластины:
N (0°)
S, мм:
12.5
A, мм:
25
B, мм:
25
Исполнение:
N (нейтральное)
Обозначение резца:
MDPNN
Крепление пластины:
M - Прижим клин-прихватом сверху
Главный угол в плане:
P (62.5°)
Устанавливаемая пластина:
DN.. 1104..
e, мм:
35
1 034
+
Резец токарный MDPNN2525M11-TX предназначен для продольного точения с использованием твердосплавных пластин с креплением типа M - Прижим клин-прихватом сверху MDPNN2525M11-TX применяются пластины типоразмера DN.. 1104.., в комплект поставки не входят и приобретаются дополнительно. Исполнение - Универсальное, длина в мм - 150 (M)
0.22 с