Производитель твердосплавного режущего инструмента

slider0

Полезные статьи

Читать все статьи

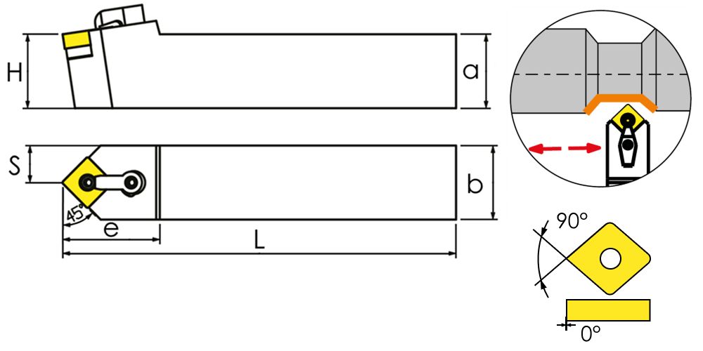
MSDNN2525M12 Резец токарный (державка) по металлу

Характеристики товара

H, мм:
25
L, мм:
150
Форма пластины:
S (квадрат)
Задний угол пластины:
N (0°)
S, мм:
12.5
A, мм:
25
B, мм:
25
Исполнение:
N (нейтральное)
Обозначение резца:
MSDNN
Крепление пластины:
M - Прижим клин-прихватом сверху
Главный угол в плане:
D (45°)
Устанавливаемая пластина:
SN.. 1204..
e, мм:
34
989
+
Резец токарный MSDNN2525M12-TX предназначен для продольного точения с использованием твердосплавных пластин с креплением типа M - Прижим клин-прихватом сверху MSDNN2525M12-TX применяются пластины типоразмера SN.. 1204.., в комплект поставки не входят и приобретаются дополнительно. Исполнение - Универсальное, длина в мм - 150 (M)
0.18 с