MTB1-ER11-030 Патрон цанговый
Характеристики товара
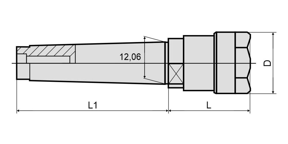
Диаметр раб. части d1, мм:
19
Размер цанги:
ER11
L, мм:
30
L1, мм:
82
Тип хвостовика:
MTB1
Диаметр хвостовика инструмента, мм:
1-7
Длина вылета, мм:
30
d, мм:
19
1 746
₽
Фрезерный патронMTB1-ER11-030 (ISO 296, DIN 228) предназначен для фиксации режущего инструмента с цилиндрическим хвостовиком и используется во фрезерных станках. Установка режущего инструмента в корпус патрона осуществляется при помощи зажимной цанги ER16 (DIN 6499) и гайки типа A. В зависимости от размера посадочного отверстия цанги в патрон устанавливается сверло с диаметром хвостовика от 1 до 10 мм. Вылет патрона от шпинделя станка составляет 30 мм.
