Производитель твердосплавного режущего инструмента

slider0

Полезные статьи

Читать все статьи

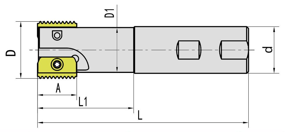
SR0020G14-2 Фреза концевая резьбонарезная

Характеристики товара

Наличие товара:
Нет в наличии
Диаметр раб. части d1, мм:
20
Ориентировочная дата поступления на склад:
16.12.2025
D1, мм:
16
L, мм:
93
Количество зубьев:
2
A, мм:
14
L1, мм:
37
Устанавливаемая пластина:
14N/E**
Диаметр хвостовика, мм:
20
Общая длина, мм:
93
d, мм:
20
5 542
+
Концевая резьбофреза SR0020G14-2 применяется для изготовления наружной и внутренней резьбы. Диаметр фрезы 20 мм, минимальный диаметр фрезерования 16 мм. Тип хвостовика - Weldon, диаметр 20 мм. Устанавливаемая пластина 14N/E**.
0.22 с