Производитель твердосплавного режущего инструмента

slider0

Полезные статьи

Читать все статьи

Ключ для цанговых патронов ER16, тип M

Характеристики товара

Ориентировочная дата поступления на склад:
31.12.2025
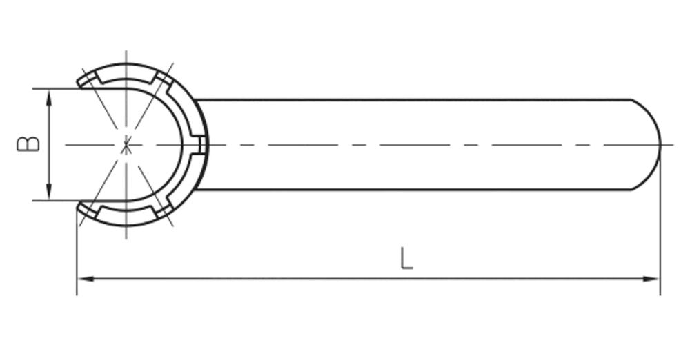
L, мм:
110
B, мм:
15
Тип ключа:
ER-M
Размер ключа:
ER16
260
+
Ключ ER16-SPNR-M предназначен для установки и снятия гайки ER16 (тип M) в цанговом патроне при смене режущего инструмента или цанги.
0.25 с