Производитель твердосплавного режущего инструмента

slider0

Полезные статьи

Читать все статьи

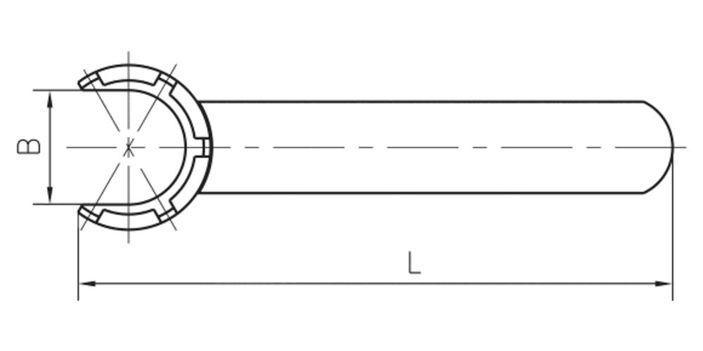
Гаечный ключ для цанговых патронов ER11, тип M

Характеристики товара

Наличие товара:
Нет в наличии
L, мм:
90
B, мм:
11
Тип ключа:
ER-M
Размер ключа:
ER11
234
+
Ключ SPNR-ER11-M предназначен для установки и снятия гайки ER11 (тип A) в цанговом патроне при смене режущего инструмента или цанги.
0.21 с