Производитель твердосплавного режущего инструмента

slider0

Полезные статьи

Читать все статьи

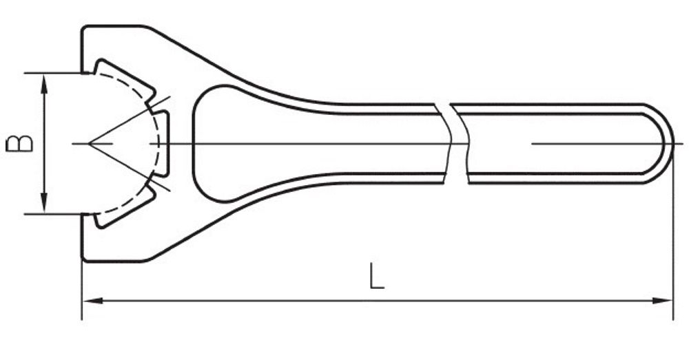
Гаечный ключ для цанговых патронов ER25, тип UM

Характеристики товара

Наличие товара:
Нет в наличии
Ориентировочная дата поступления на склад:
31.12.2025
L, мм:
210
B, мм:
37
Тип ключа:
ER-UM
Размер ключа:
ER25
436
+
Ключ SPNR-ER25-UM предназначен для установки и снятия гайки ER25 (тип UM) в цанговом патроне при смене режущего инструмента или цанги.
0.2 с