Производитель твердосплавного режущего инструмента

slider0

Полезные статьи

Читать все статьи

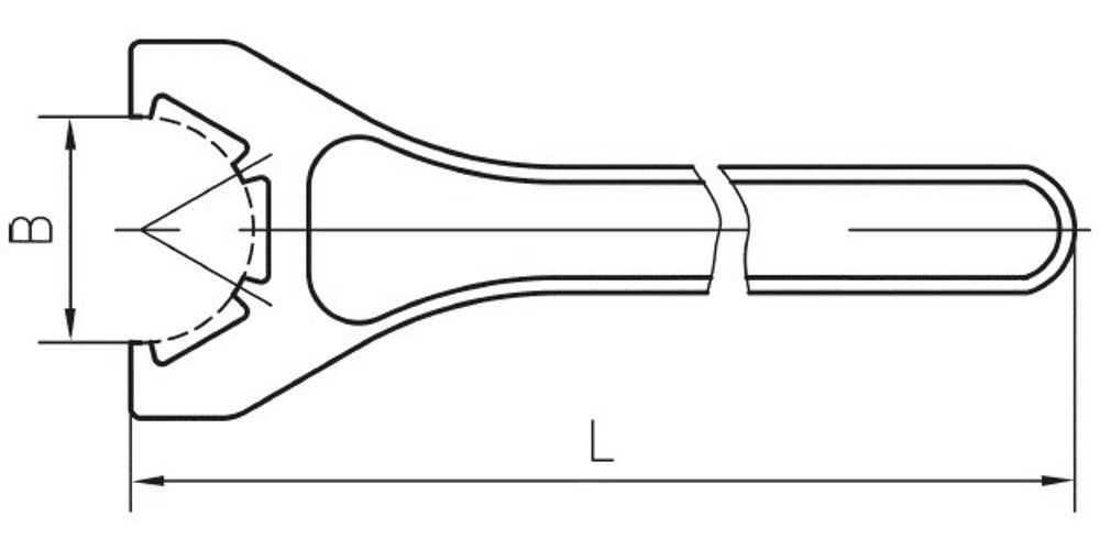
Гаечный ключ для цанговых патронов ER40, тип UM

Характеристики товара

Наличие товара:
Нет в наличии
Ориентировочная дата поступления на склад:
31.12.2025
L, мм:
290
B, мм:
58
Тип ключа:
ER-UM
Размер ключа:
ER40
582
+
Ключ SPNR-ER40-UM предназначен для установки и снятия гайки ER40 (тип UM) в цанговом патроне при смене режущего инструмента или цанги.
0.26 с